목록IT/Android (80)
구석진 개미집
얼마 전, 삼성전자는 갤럭시 노트5와 갤럭시 S6 Edge+를 공개하였습니다. 애플의 iWatch가 점유율을 높이고 있는 가운데 삼성의 스마트워치 관련 소식을 접하게 되어서 말씀을 드립니다. 기어 S2 관련 상표출원을 한 삼성전자 © SAMMOBILE 삼성전자는 9월에 열릴 IFA 2015에서 새로운 스마트워치를 공개하려고 준비 중입니다. 기존 기어와는 다르게 일반 아날로그 시계의 둥그런 모양새를 가지고 출시될 것 같습니다. 그 점에 대해서 이름을 통해 알 수 있는데요, 'CLASSIC'이라는 단어가 그 점을 암시합니다. 그리고 예전에 갤럭시 S6를 공개했을 때 함께 보여주었던 사진들을 통해서도 그 점을 유추해볼 수 있습니다. © SAMMOBILE 위의 이미지를 살펴보면, Wearable 기능을 강조하면..
노트 시리즈를 한번 써본 사람이라면 다른 기기로 넘어가지 힘든 중독성과 편리함을 공감할 것이라 생각됩니다. 그래서 필자를 포함해서 갤럭시 노트 유저에게 희소식이 있어 알려드립니다. 갤럭시 노트 4 © SAMSUNG 삼성이 갤럭시 노트5에 대한 공식적인 일정을 발표했습니다. 2015년 8월 12일에 전격 공개할 예정이며, 공개 후 약 1주일 뒤인 8월 21일에 판매가 시작됩니다. 동시에 갤럭시 S6 edge plus도 함께 판매됩니다. 염려되는 부분은 삼성은 항상 메이저급 제품을 동시에 출시하기 때문에 두 기기 중 한 기기는 희생되지 않을까 생각됩니다. 그럼 갤럭시 노트4와는 다른 점들은 무엇일까요? 호불호가 갈릴 수 있는 부분입니다만, microSD slot이 없어질 것이라고 합니다. 아이폰에는 없었던,..
오랫동안 기다려왔던 갤럭시 S6와 S6 Edge의 안드로이드 롤리팝 5.1.1 업데이트가 시작되었습니다. 이 업데이트를 통해서 몇 가지 버그들이 수정되었으며, 새로운 기능들도 추가되었습니다. © SamMoblie 어떤 기능이 추가되었을까? 먼저 카메라 작동방법이 개선되었습니다. 기존에 노출값을 조절하려면 환경설정(톱니바퀴)을 클릭해서 조정하여야 했습니다. 정말 중요한 순간을 찍을 때나 타이밍을 요할 때, 이제는 지연시간 없이 쉽게 조정할 수 있게 되었습니다. 그리고 월페이퍼(배경화면)기능이 몇 가지 추가되었습니다. 시간이 지나면 자동으로 바뀌는 슬라이드 방식으로 알려져 있습니다. 그 밖에 인터페이스 면에서 기능들이 추가되었습니다. 업데이트 하는 방법은 환경설정에서 소프트웨어 업데이트 확인을 클릭하면 쉽게..
현재 갤럭시 S6, 갤럭시 S6 Edge를 비롯해서 갤럭시 노트4 또한 업데이트가 매우 느립니다. 5.0.1로 업데이트가 진행되었다가 지금까지 감감 무소식입니다. 그러던 중에 안투투(AnTuTu) 벤치마크를 통해서 갤럭시 노트4가 안드로이드 5.1.1 버전을 테스트 했다는 사실이 밝혀졌습니다. © SamMoblie 아이폰은 5s부터 64비트 프로세서를 지원했습니다. 오랜 기간 동안 지원해왔던 덕분에 아이폰6와 6 plus는 64비트 환경에서 안정적으로 돌아가고 있는 것 같습니다. 반면에 안드로이드는 최근에 공개한 롤리팝부터 64비트를 지원하기 시작했고, 아직 불안정한 상태로 보입니다. 업데이트 속도가 빠르기로 유명한 삼성전자도 업데이트가 늦고 있습니다. 하지만 AnTuTu 벤치마크 앱을 통해서 얼핏 공개..
최신 기술들이 탑재된 OS가 출시되었더라도 사용하는 사람이 없다면 개발자들은 그 기술을 사용하는데 망설이게 됩니다. 마이크로 소프트의 윈도우 8.1처럼, 안드로이드 OS의 롤리팝(Android Lollipop)도 마찬가지입니다. 롤리팝은 출시 당시 점유율이 1% 대도 진입하지 못하였습니다. 그렇다면 출시한지 수개월이 지난 지금은 어느 정도 보급되었을까요? © Fonearena 한 통계자료에 따르면, 2015년 5월 기준으로 약 9.7%정도 보급되었다고 합니다. 스마트기기 제조업체들의 업그레이드와 새로운 기기들의 출시에 힘입어 이 수치는 앞으로 계속 올라갈 것으로 보입니다. 여기에 더해서 적지 않은 어플리케이션들이 낮은 버전의 OS에서는 서비스를 제공하지 않는다는 점도 수치를 끌어올리는데 작용하고 있습니다..
IT 전문매체인 SamMobile에 따르면, T-Mobile(미국의 통신사)용 안드로이드 롤리팝 5.1.1 기반 OTA가 공개되었다고 소식을 전했습니다. 하지만, 지금까지 T-Mobile에서만 보고가 들어왔기 때문에 모든 통신사의 갤럭시 S6 Edge 업데이트 일정은 정확하게 확인되지 않습니다. 어떤 기능이 추가되고 개선되었는지는 다음 포스팅을 통해서 소개해드리겠습니다. ^^ Source 내용이 마음에 드신다면 공감(♡)을 눌러주세요. 로그인 하지 않으셔도 가능합니다. 감사합니다!
많은 스마트폰 제조업체는 자신들만의 어플리케이션 및 소프트웨어를 구글 플레이 스토어를 통해서 공급하고 업데이트해왔습니다. 소비자들이 쉽게 접근할 수 있고, 업데이트에도 용이하기 때문입니다. 하지만 삼성전자는 구글 플레이 스토어를 통해서 소프트웨어를 공급해오는 것을 꺼려왔습니다. 본인들만의 어플리케이션 스토어를 보유하고 있기도 하고, 프라이빗한 컨셉을 밀고 나가기 위함이 아니었을까 생각됩니다. Google Play Store에서 공개된 S헬스 하지만 이번에 갤럭시 S6와 갤럭시 S6 Edge가 공개됨과 동시에 개선된 S헬스가 구글 플레이 스토어에서도 다운받을 수 있도록 조정되었습니다. 새로운 갤럭시 시리즈만 업데이트 하는 것이 아닌, 기존의 갤럭시 시리즈에서도 개선된 S헬스 앱을 사용할 수 있도록 하기 위..
삼성전자는 이미 롤리팝으로 업데이트를 진행한 기기들이 많습니다. 하지만 갤럭시 노트 2를 비롯해서 아직 진행하지 않는 기기들이 있습니다. 이 기기들에 대한 업데이트 정모를 열람할 수 있는 덴마크과 핀란드의 삼성전자 홈페이지에서 갤럭시 노트 2와 갤럭시 알파가 롤리팝 업데이트 대상 기기에 포함되어 소식을 전합니다. 위 캡쳐를 통해서도 확인할 수 있듯이, 갤럭시 노트 2가 롤리팝 업데이트 예정 기기로 지정되어 있는 것을 확인할 수 있습니다. 하지만 정확한 업데이트 일자에 대해서는 언급이 없었습니다. 그래도 몇 년 이상 지난 오래된 기기들을 업데이트 대상 기기로 지정하고 지원해주는 삼성전자의 관리 마인드가 마음에 드네요. 업데이트 관련 정확한 일자가 공지되면 따로 포스팅 하겠습니다. Source 내용이 마음에..
갤럭시 노트4 롤리팝 업데이트 이후 사라졌던 무음모드가 2015년 3월 27일에 제공되기 시작한 업데이트를 통해서 부활되었습니다. 더해서 간헐적으로 연락처앱이 종료되는 현상이 해결되었습니다. 갤럭시 노트4 사용자라면, 위와 같은 메시지를 자동으로 수신된다. 업데이트 후 부활된 무음모드를 확인할 수 있다. 이번 업데이트 후 안드로이드 버전을 확인해보면 변화가 없다는 것을 알 수 있다. 첨부된 이미지를 통해서 확인할 수 있습니다만, 이번 업데이트는 안드로이드 버전업이 아닌 삼성전자 측에서 만든 간단한 패치형식으로 확인됩니다. 즉 앞서 소개해드렸던 무음모드 상세 설정 기능은 이번 업데이트를 통해서 제공되지 않습니다. 2015/03/23 - [IT/Android] - 롤리팝 업데이트 후 사라진 무음모드, 안드로..
최근에 Youtube에서 화제가 되고 있는 갤럭시 S6 해부 영상을 통해서 많은 것을 알 수 있을 듯 합니다. 보드와 모듈이 잘 설계되어있고, 기존 플라스틱 케이스를 벗어나서 유리와 메탈소재의 바디를 가지게 됨으로써 고급스러움도 보여줍니다. ⓒ SAMSUNG 하지만 전문가가 아니라면, 배터리를 교체하는 일은 어려워 보입니다. 배터리를 교체하기까지의 과정이 만만치 않기 때문입니다. 자칫 후면 케이스를 분리하다가 유리가 깨질 수 있으며, 여러 모듈들을 떼어내는 과정에서 끊어지거나 부숴진다면 서비스 센터에서 받아보게 될 청구금액이 잔인해질 것이기 때문입니다. 그렇기 때문에 스스로 수리하거나 배터리를 교체하는 일은 가급적이면 피해야겠습니다. 내용이 마음에 드신다면 공감(♡)을 눌러주세요. 로그인 하지 않으셔도 ..
갤럭시 노트 4를 사용하고 있는 필자는, 롤리팝 업데이트 후 무음모드가 사라져서 당황했었던 기억이 있습니다. 구글에서 롤리팝에서 없애버린 탓인데요. 확인해보니 기능을 아예 없앤 것이 아니라 환경설정에 들어가야 무음모드를 적용할 수 있었습니다. 무음모드를 설정하고 해제를 해야 하는 상황에 직면하면 예전에 탭 두세번으로 해결될 일이 복잡해지니까 불편하더군요.2015/03/19 - [IT/AndroidTip] - 갤럭시 노트4, 롤리팝 업데이트 후 무음모드 설정 방법구글에서는 이런 반응을 수렴해서, 안드로이드 OS 최신버전인 5.1 에서는 무음모드를 바로 적용할 수 있도록 조치하였습니다. 그리고 기능이 조금 더 추가되어 업그레이드 되었습니다. 기능이 추가된 무음모드 ⓒAndroidPit 즉, 무음모드를 앞으로..
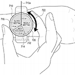
스마트폰 제조 업체에서, 그리고 스포츠용품 회사에서 너나 할 것 없이 스마트워치를 제작하고 출시하고 있습니다. 그 중 라운드 형의 스마트워치는 기존의 아날로그 손목시계와 모양새가 유사하고, 유행을 타지 않는다는 큰 장점이 있어 제품의 가짓수가 많아지고 있습니다. 휘어있는 사각형 형태의 스마트워치를 출시해왔던 삼성전자도 이러한 시장의 흐름에 따라서 라운드형의 스마트워치를 출시할 예정이라고 합니다. 그런데 이 스마트워치에서 재미있는 기능이 있어 이를 소개해드립니다. 출시 예정인 삼성전자의 라운드형 스마트워치 ⓒ GalaxyClub.nl 위에 첨부된 사진에서 확인할 수 있듯이, 스마트워치를 통해서 일정을 확인할 수 있는 특허가 등록 진행중인 것으로 확인되었습니다. 이 특허 정보대로 스마트워치가 출시된다면 투박..
갤럭시 S4 블랙 에디션 유저에게 좋은 소식입니다. 드디어 안드로이드 5.0.1버전인 롤리팝 업데이트가 개시되었습니다. 일단 업데이트 수혜 국가는 영국이며, 그 밖에 국가들도 순차적으로 진행될 것입니다. 현재 기준으로 한국에서도 업데이트가 진행되고 있는 것으로 확인되었습니다. 업데이트는 Kies를 통하지 않고도 가능합니다. Wi-Fi 연결상태와 배터리 충전여부를 확인하고 진행하면 됩니다. 롤리팝 업데이트가 진행된 갤럭시 S4 블랙에디션 영상을 하단을 통해 확인할 수 있습니다. Source 내용이 마음에 드신다면 공감(♡)을 눌러주세요. 로그인 하지 않으셔도 가능합니다. 감사합니다!
일본의 통신사와 협력해서 만들어진 VAIO(바이오)의 첫 번째 스마트폰이 공개되었습니다. 이 스마트폰의 디자인은 파나소닉의 Eluga U2와 비슷합니다. 스펙은 어떻게될까요? ⓒ VAIO Corporation VA-10J의 스펙 싱글 마이크로 SIM 4G 통신 5인치 HD IPS OGS 디스플레이 1.2GHz 쿼드코어 스냅드래곤 410 프로세서 Adreno 360 GPU 2GB RAM 16GB 내장 메모리 microSD 슬롯 안드로이드 롤리팝 5.0 1,300만 화소의 후면 카메라와 500만 화소의 전면카메라. 내장플레시와 1080p 비디오 레코딩 기능 탑재 크기: 71.3 x 141.5 x 7.95mm, 무게: 130g 3.5mm 오디오잭 FM 라디오 4G LTE Wi-Fi 802.11 b/g/n, 블..
최근에 애플에서 자사만의 스마트워치인 애플 워치(Apple Watch)를 공개했습니다. 애플 워치 또한 자사 기기를 통해서만 사용할 수 있도록 제작했다는 점이 삼성전자와 흡사합니다. 안드로이드 진영에서 스마트워치 세계 점유율 1위는 2014년 기준으로 삼성전자가 1위 자리를 지키고 있습니다. 다음으로는 Pebble, Fitbit, 소니, 레노버, 엘지 등 순으로 점유하고 있습니다. 삼성전자는 1위자리를 지켜낼 수 있을까요? 2014년 기준, 2014년 스마트워치 점유을 1위자리를 지키고 있는 삼성전자 ⓒ statista 삼성전자는 기어시리즈를 통해서 소비자의 다양한 요구를 수용하고자 노력하고 있으며, 신제품도 꾸준히 출시하고 있습니다. 그 결과 120만개를 판매함으로써 1위자리를 지킬 수 있습니다. 또한..